Zeistufiger Regleraltes.tauchen --> Technik --> Reglerchinesisch -->

Der zweistufige Regler
(in kompakter Bauweise, 2-Schlauch-Regler)

Prüfgeräte für Kompaktregler

Der zweistufige Regler ist allgemein dadurch gekennzeichnet, daß die Druck- und Mengenregelung der Luft in zwei Stufen erfolgt. In der ersten Stufe (Hochdruckstufe) wird der Flaschendruck auf einen Zwischendruck von 8 bis 10 kp/cm2 verringert, während in der zweiten Stufe (Niederdruckstufe) der Zwischendruck auf den Einatemdruck reduziert wird. Der Aufbau dieses Reglers in kompakter Bauweise ist aus Bild 10 ersichtlich. Innerhalb des strichpunktierten Feldes ist die Hochdruckstufe dargestellt (Teile 1, 2, 10, 11, 12, 15). Der Aufbau der Niederdruckstufe (Teile 3, 5, 6, 7, 8, 13, 14) gleicht prinziell dem einstufigen Regler (natürlich Zwischendruck statt Hochdruck) und muss nicht nochmals erläutert werden.

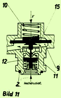
Die Funktion der Hochdruckstufe :

Die Hochdruckstufe (hierzu Bild 11) ist so aufgebaut und eingestellt, daß die Kraft F an der Hochdruckfeder (Teil 10), die über eine elastische Hochdruckmembran (Teil 15) und dem Ventilstößel (Teil 11) auf den Ventilstein (Teil 12) wirkt, diese vom Ventilsitz abhebt, solange im Zwischendruckraum (9) nicht der eingestellte Zwischendruck vorhanden ist. Das Ventil ist damit geöffnet, so daß Luft aus dem Gasvorratsbehälter in den Zwischendruckraum einströmen kann. Mit dem Einströmen der Luft baut sich im Zwischendruckraum der eingestellte, im wesentlichen von der Federkraft F der Hochdruckfeder (Teil 10) abhängige Zwischendruck pm auf. Dieser Druck ergibt durch Multiplikation mit der Fläche der Hochdruckmembran eine Kraft, die der Hochdruckfederkraft F entgegenwirkt, diese überwindet und die Hochdruckmembran schließlich auswölbt (hierzu Bild 12).
Dadurch kann die Schließfeder der Hochdruckstufe den Ventilstein auf den Ventilsitz drücken, womit das Ventil geschlossen, die Luftzufuhr unterbrochen und ein weiterer Druckanstieg im Zwischendruckraum verhindert wird.

Das Ventil bleibt geschlossen, solange der Zwischendruck im im Zwischendruckraum erhalten bleibt. Verringert er sich (zum Beispiel durch den Einatemvorgang), so öffnet sich das Ventil, bis die eingestellte Druckgröße wieder vorhanden ist.
Die Hochdruckstufe stellt damit ein Reduzierventil dar, das nahezu unabhängig vom Flaschendruck einen ständig gleichen Zwischendruck erzeugt. Sie vollzieht im technischen Sinn eine Festwertregelung. Durch die Bohrung "X" über der Membran wird erreicht, daß der Zwischendruck pm immer um den eingestellten Wert über den Absolutdruck des umgebenden Wassers liegt. Deshalb ist der zweistufige Regler genauso wie der einstufige an keine Tauchtiefen gebunden (wenn man nur die Luftdruckverhältnisse betrachtet)
.
altes.tauchen --> Technik --> Regler-Chinesisch Letzte Änderung: 28.12.21 Seitenanfang